利用check酱监控网页并生成rss

背景
最近发现了一个很好玩的开源项目:Check酱。
https://github.com/easychen/checkchan-dist
它可以通过保存cookie的方式,监控任意网页上任意元素的变化。然后通过使用Server酱或webhook的方式,对这些元素的变化进行时时提醒。
部署Check酱实时监控
Check酱的本体是一个chrome插件,但如果只用插件的话,则只能在开机打开浏览器时进行监控。
好在官方提供了docker镜像,于是我首先使用Docker-compose的方式将其部署在我的服务器上。

于是,我用Check酱监控了b站up主的更新(主要是虽然b站有动态-投稿,可以只看关注的up主更新的视频,但等我发现这个功能时,我已经把2000个关注都点满了。。。),以及京东商品的价格,还有微信公众号的更新。
这边借用官方的图:

然后配置Server酱,将监控信息发送到钉钉机器人通道:



现在看起来一切都很完美,但很快我就发现cookie是有时效的,所以我隔几天就要去登录一下。这样显然就麻烦了。
万物皆可Rss
所以很快,我就发现了RssHub。
https://github.com/DIYgod/RSSHub
它是一个由广大网友共同编写规则,从而可以将大多数你想要的东西(包括那些不支持rss的)都变成rss订阅源的工具。
所以,现在的思路就从直接监控网页,变成了监控rss的变化。(因为一般的rss阅读器提醒不是那么及时,并且我又喜欢把app都冰冻锁起来,所以我需要一个可以在聊天软件里提醒我的功能)
当然,由于一些不可说的原因,rsshub的官方站在大陆使用会有点不顺畅。不过好在这依然是个开源软件,所以我们继续用docker部署在服务器上:

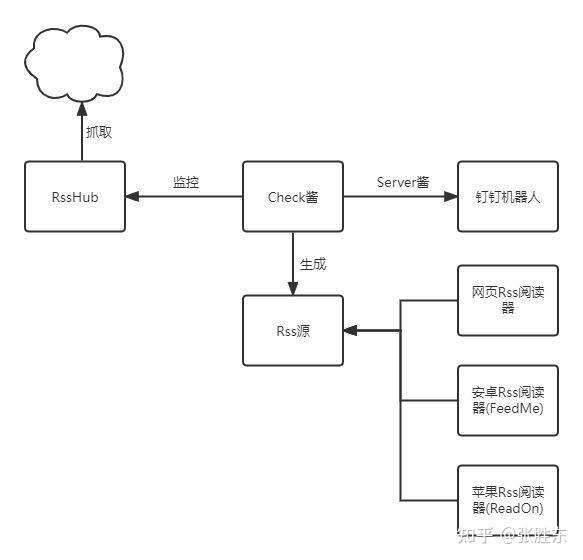
所以当前的架构就是这样:

我把网页的变化点做成rss发布,然后使用Check酱去监控rss的变化,一旦有变化就会通过Server酱向我的钉钉推送提醒;同时,我使用The Old Reader去订阅并管理我感兴趣的Rss源,这样当我的钉钉接收到提醒时,我就可以用安卓的FeedMe或网页端去查看更新的内容了,并且已读的条目也会双向同步到The Old Reader。
完美。
但。。。我老婆又向我提出了一个新的需求:她也想要去查看更新。。。
这个需求的麻烦点在于,我不想让她的已读动作影响到我。看似用两个The Old Reader账号就能解决,但这样我就需要每次修改订阅都要在两个账号同步修改,太麻烦了。。。
将监控动态发布成Rss
各种搜索解决方案,发现新版Check酱刚增加了一项功能,可以将监控的动态上传、发布成Rss。
简单说来就是:https://github.com/easychen/checkchan-dist/issues/39
当正常的php网站部署, 然后填上对应的rss_upload.php地址:

然后->“动态”, 点击”RSS“上传:

最后打开https://example.com/rss.php 即可:

rss_upload.php:

rss.php:

利用这个功能,我就可以把Check酱监控的动态发布成Rss源,这样不论给多少人订阅都不会相互干扰了,而且监控的条目也方便管理,不用多次反复添加修改了。

但是,大家肯定发现了一个问题,那就是Rss的上传是要手动触发的啊。那岂不是没有一点可用性?
幸好Check酱镜像支持了NoVNC,所以我通过NoVNC连接到服务器上部署的Check酱里,打开正在被自动化程序操控的浏览器,按F12进入开发者模式,在命令行中输入:

这段js代码,就可以让浏览器每隔10分钟,自动去点击一下上传按钮。关闭NoVNC也可以生效。
这下就全流程自动化了。
这是在iPhone的ReadOn软件上的效果:

这是在安卓的FeedMe软件上的效果:

